RFID seals for sludge big bag management
RFID seals for sludge big bag management, suitable for closing large bags
REQUEST FOR QUOTATION
Description
The transport of sludge must be carried out using suitable means in order to avoid any dispersion during the transfer and to guarantee maximum safety from a hygienic and sanitary point of view.
During the various phases of collection and transport, storage, conditioning and use, the sludge to be used in agriculture must be accompanied by an accompanying document compiled by the producer or holder and delivered to the person taking charge of the sludge (the original document and copies must be kept for a period of at least 6 years).
During the transport phase it is also necessary to accompany the sludge with the Identification Form (art. 15 Legislative Decree 22/1997 and Ministerial Decree no. 145 of 01/04/1998) which must be kept together with the waste loading and unloading registers for a period of at least 5 years from the date of the last movement (the absence or incorrect compilation is sanctioned by article 52 of Legislative Decree 22/97 Ronchi Decree);
LeghornGroup has been producing RFID technology seals for over 12 years.
The TITAN SEAL RFID UHF model is a very robust seal suitable for big bags.
It can be read from several meters away and has considerable resistance to atmospheric agents.
Available colors
| RFID UHF TITAN SEAL TECHNICAL DATA | |
| RF protocol | EPC Class 1 Gen2 – ISO/IEC 18000-6C |
| Integrated Circuit(IC) | IMPINJ Monza 5; Read/Write |
| Memory | EEPROM |
| Operating Frequency | 860 – 960 MHz – UHF Global |
| Protection | IP66 |
| Operating temp. | -20°C to +80°C |
| Storage temp. | -20°C to +80°C |
| Tag dimension | 60×60 mm |
| Reading distance | Typical reading with handheld reader: 50 – 80 cm Typical automatic reading with gate large 4 m |
| Resistance harsh factory environment | |
The TITAN SEAL is an adjustable mechanical seal. Suitable for closing big bags. To this we have added an electronic component (RFID) in order to transform it into a product capable of storing a large amount of logistics and traceability information and that can be automatically read from a distance.
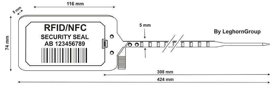
DIMENSIONS
Strip width: 5 mm
Length: 424 mm
Label size: 72×110 mm
NUMBERING AND CUSTOMIZATION
– Ink transfer printing
– Sequential numbering up to 15 digits.
– Possibility of barcode
– Customization up to 20 characters on one line.
– Customer logo can be produced on request.
– For special orders it is possible to produce an embossed logo.
Storage and reading
By storing the big bags in a rational way, possibly all with the label on the same side, it is possible to check several big bags at the same time.
Inventory becomes extremely fast and accurate.
In case of absence of a Titan seal rfid uhf seal the reader will immediately notify you.

It is not advisable to stack the big bags on top of each other.
Reading of the TITAN SEAL RFID UHF seal could be obstructed.
PACKAGING
Carton with 500 seals
Carton dimensions: 56×39×12 cm
Carton weight: 5 kg
















